Tesla is expected to launch a renewed assault on the European electric car market with a more affordable compact hatchback model, according to boss Elon Musk.
It has been hinted at a few times in the past couple of years and the brand's CEO has now discussed it again on record at a European conference held in Germany.
"In Europe, it would make sense to do a compact car," Musk is quoted as saying by news agency Bloomberg. "I'm sure there will be others as well." However, no timing has been discussed for the new model.
It is believed that the new car, aimed primarily at Europe, could be a restyled and adapted hatchback version of the existing Model 3 – and it would be produced beside the saloon at the US firm’s new plant near Berlin, Germany.
Speaking to investors and analysts on a previous conference call earliier this year, Musk stressed that “we will not succeed in our mission if we don’t make cars affordable”, adding: “The thing that bugs me the most about where we are right now is that our cars aren’t affordable enough. We need to fix that.”
While not revealing specifics, in order to keep future Tesla product launches as surprising as possible, Musk said: “It would be reasonable to assume that we would make a compact vehicle of some kind and probably a higher-capacity vehicle of some kind.”
Although it's likely to be some way off – given that Tesla still has to start production of its Semi lorry, Roadster supercar and Cybertruck pick-up – a more affordable model than the Model 3 will be crucial to ensure that the brand can compete on real terms with the new Volkswagen ID 3 and Peugeot e-208 hatchbacks.
The ID 3 will eventually start from around £27,500 for the entry-level 45kWh model, while the cheapest Model 3 available in the UK today costs £43,490 (both prices are before the UK government’s £3000 grant for electric cars).

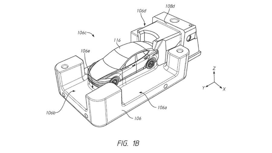
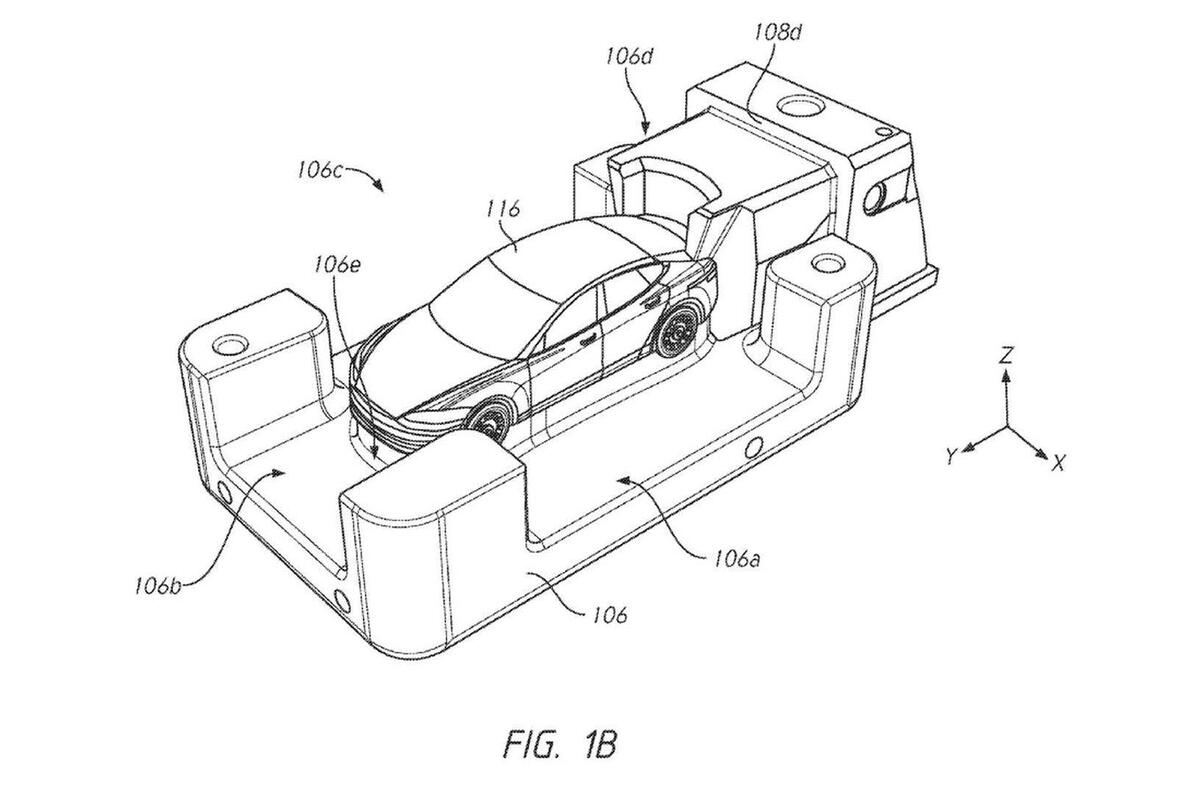
It is believed that Tesla’s German factory, which is due to be completed and begin operations in July 2021, could be the catalyst for a smaller, cheaper model, thanks to what Musk describes as a “revolution in automotive body engineering”: a giant aluminium casting machine.
Considered a first in the mass-production industry, with Tesla applying to patent the design last year, the machine hugely simplifies the process of assembling a unibody frame, which is traditionally done by folding, welding and gluing together multiple panels and parts.


Join the debate
Add your comment
I'd hope this means giving the cars names rather than letters/numbers. Tesla does have some precedent there, with the Roadster, Semi, Cybertruck, Cyberquad and obviously the energy products.
A compact hatch is likely going to be essential for Tesla to keep hold of the European market, they don't dominate it to the extreme degree they do in the States. The compact/midsize electric hatch sector is pretty crowded right now, but that might give Tesla an unusual advantage in having established benchmarks to aim at, rather than the usual situation of coming out first and being the target for everyone else. Even the ID3 will have been out for a while by the time Tesla can produce their hatch.
the cancer that is the cult of elon bots are spamming this page. Autocar you need to have better filters for musks astrotufing chatbots . One benefit being close to silicon valley is that he can employ the best bots to create fake hype online for everything tesla thus pump the stock price thus increase his pay packet which is directly connected to the performing well. Hats off to him he is a savant conman My advice to tesla bots. STFU, put up or shut up tesla should put up or shut up and sell a reliable car to NORMAL people, not everyone can afford a £42k+ 4 door ev with crap build quality
Elon bots? as opposed to some crazy ranting loon. Go get some therapy